官方:38岁德约科维奇因右肩伤势,退出ATP1000迈阿密公开赛
离谱!EWC电竞世界杯改规则,街霸卫冕冠军Xiaohai失去直通资格
赛季第2冠!瑞士羽毛球公开赛混双决赛:程星/张驰2-1朱一珺/李茜
乒乓球德甲:樊振东3-1战胜沃尔瑟,收获三月开门红
最富有球队老板:巴黎FC老板1710亿第1,克伦克第12,蔡崇信第22
F1中国站:汉密尔顿收获第三,首次代表法拉利车队登上领奖台

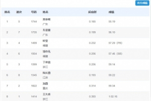
体育资讯11月17日讯 全运会田径女子400米栏决赛,莫家蝶以55秒19的成绩夺得金牌,孔莹蓥获得银牌,欧莹获得铜牌。
女子400米栏决赛成绩详情如下:
1 莫家蝶 55.19
2 孔莹蓥 56.10
3 欧莹 57.29(PB)
4 邹亦凡 57.46(SB)
5 丁依蕊 59.14
6 陆长薇 59.22
7 刘薇 59.34
8 王久香 1:02.16